1、角色
主要是新增/编辑角色设置权限供操作员选择相应的角色与权限
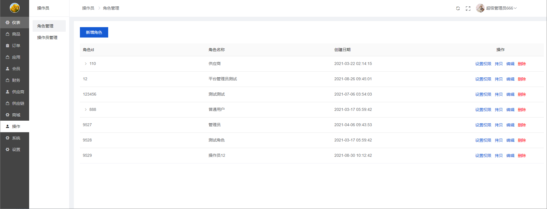
1)角色管理列表

2)新增/编辑角色
编辑的时候可以选择父级角色

3)设置权限
勾选想要给这个角色的权限


4)删除
删除这个角色

2、操作员
可进行列表筛选:用户名,用户昵称,用户角色

1)新增/编辑
新增管理,设置用户名密码用户登录,选择角色设置权限

2)若总管理员和操作员需要修改登录密码的,可以点击 编辑 进入修改;

3、附件设置
1)附件设置:商城对象存储服务,选择好oss类型,填写oss配置


2)邮箱配置(暂时没用)

3)物流信息查询配置
商城查询快递信息接口,需要在后台的“系统-附件配置-物流信息查询配置”中填写相关信息(需要找销售人员帮开通芸签服务,得到配置信息)

4、短信配置
商城短信服务,选择对应短信类型(腾讯云/阿里云),进行短信配置;

1)腾讯云短信配置时,regionId默认填写ap-guangzhou(阿里云短信也是)、SecretId填写如下说明:
2)腾讯云后台--点击左上角云产品--滑到最后管理与审计版块--点击“访问密钥”


3)这三个提醒暂时没用到,不用配置;
Ø 余额定时提醒:
Ø 商品发货提醒:
Ø 会员充值提醒:
5、多媒体分组(暂时没用)
6、操作记录
显示中台账号的操作记录,可以按操作操作模块、操作时间搜索查看对应操作记录,记录可以显示操作时间,操作人,操作模块,设备ip,操作内容;

7.系统配置(技术配置)
8、支付设置
1)汇聚支付设置
这一步是很重要, 在商城所有开始交易之前,要把支付配置完成,否则所有交易会失败;
需要在第三方汇聚支付开通分账功能。
Ø 商户编号:在汇聚平台开户后888开头的汇聚商户编号
Ø 商户秘钥:在汇聚平台开户后汇聚后台提供的秘钥
Ø 报备商户号:汇聚平台后台提供的777开头报备商户号
Ø 支付回调域名地址:按照下方提示把 “域名” 替换成自己平台域名即可

2)平台汇聚分账方
平台在供应链中本身也是分账方,需要在财务中增加开户,开户后的分账方编号填写在此处


3)平台手续费是给各个供应商分账时所扣除的额外手续费,百分比单位

4)支付方式
在支付设置中增加PC端下单、PC端采购余额充值支付方式选择,默认全选,如果不选择不显示支付方式;
注:控制汇聚支付开关的前提是,汇聚支付的所有信息需要配置好,如果没配置 即使开关开了也不会显示。

9、系统更新
可以插件当前应用信息版本号,以及最新应用版本,若不是最新版本的,可以点击操作更新版本。

更新后,系统10秒后会自动重启服务,有特殊情况(如问题更新后没有解决),可刷新页面,重启服务再看下~

更新时间:2026-01-27 10:24